01
前言

02
专利背景
03
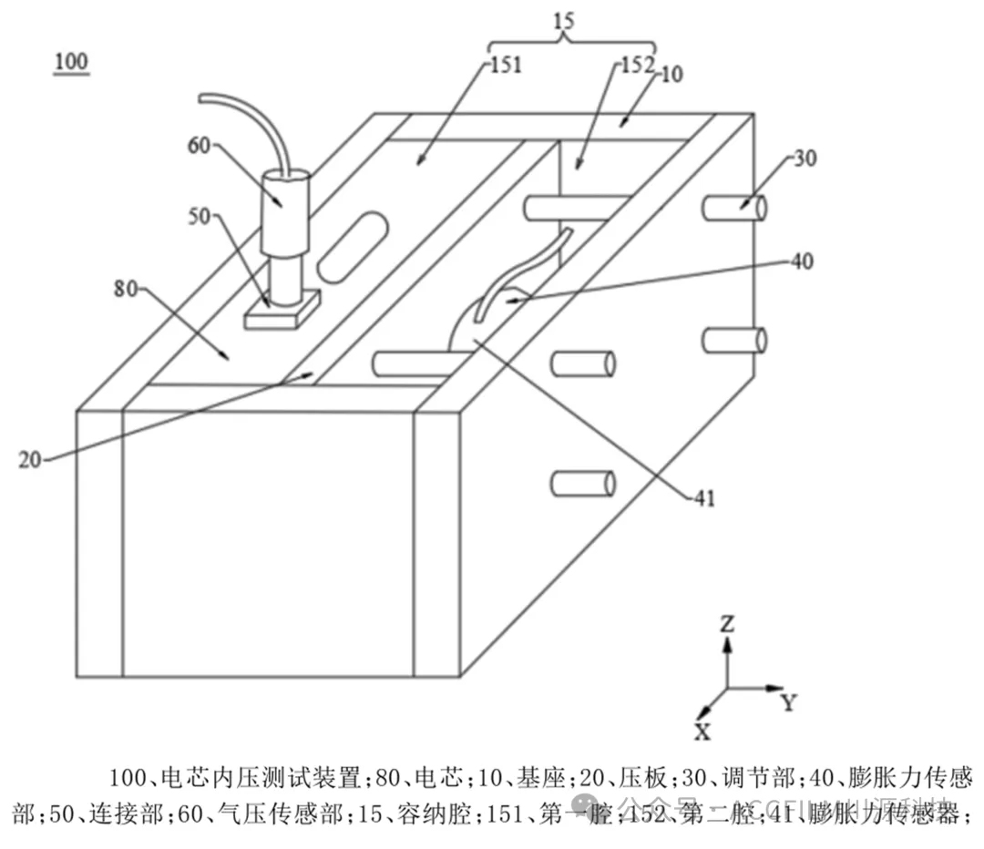
专利内容



04
先进性分析
05
应用前景
06
结语


关注我们,带您了解电池检测行业动态
商务咨询,欢迎拨打服务热线
400-700-2017
川源科技介绍
川源科技(ACCFILM)成立于2017年3月,总部坐落于苏州,在杭州、厦门、广州等地设办事处,在美国、欧洲、东南亚设有服务中心。公司核心成员来自锂电池行业前卫企业,是一家聚焦于新能源领域,专业从事电池新型检测技术研究、开发、制造与检测服务的高新技术企业。
公司高度重视研发工作,研发人员占比60%以上,并积极与中科院、苏州大学、江苏科技大学等机构合作。公司先后荣获多项荣誉,包括苏州创业领军人才项目、江苏省科技型中小企业、江苏省民营科技企业、国家高新技术企业等。
公司以高品质新技术产品服务于全球企业,客户包括中国科学院、清华大学、中国航天、宁德时代、ATL、LG、SES、BEYONDER、香港科技大学、比亚迪、广汽集团、蔚来汽车、长安汽车等。